日前,天眼查显示,北京万达文化产业集团有限公司新增1条股权冻结信息,被执行人为公司股东大连万达集团股份有限公司(下称“大连万达集团”),冻结股权数额80亿元,冻结期限自2025年3月18日至2028年3月17日,执行法院为河南省郑州市中级人民法院。
北京万达文化产业集团注册资本为80亿元,由大连万达集团全资持有。此次冻结,意味着公司全部股权都遭冻结。

图片来源于网络,如有侵权,请联系删除
截至2025年2月25日,大连万达集团的股权冻结笔数已经达到23笔。还有一笔是冻结王健林,合计24笔。
最新的一次冻结是2月25日。大连万达集团持有的大连万达商业管理集团19.79亿元股权被北京市海淀区人民法院冻结,冻结期限至2028年2月24日。
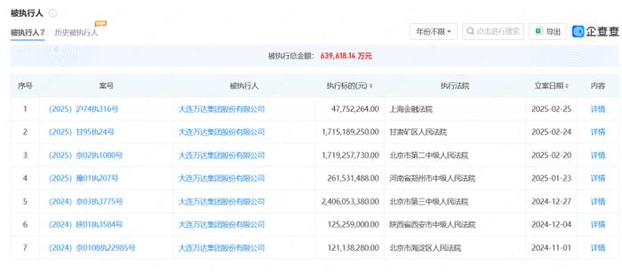
除了股权冻结之外,大连万达集团已经多次成为被执行人。截至2月25日,大连万达集团被执行金额总计达到约64亿元,被执行时间从2024年11月之后集中出现。短短4个月,冻结金额达到逾60亿元。

图片来源于网络,如有侵权,请联系删除
《财中社》发现,大连万达集团也在出售项目缓解压力。就在3月25日,徐州万达广场有限公司出现工商变更,大连万达商业管理集团退出股东,新增广东横琴粤澳深度合作区宽和商业管理有限公司为全资股东。

图片来源于网络,如有侵权,请联系删除
大连万达集团核心业务由大连万达商业管理集团股份有限公司经营。截至2024年三季度末,公司短期债务和一年内到期的非流动负债为38.9亿元和400.8亿元,长期债务为1064.6亿元,另有61.9亿元应付债券,合计债务为1566.2亿元。
(文章来源:财中社)
